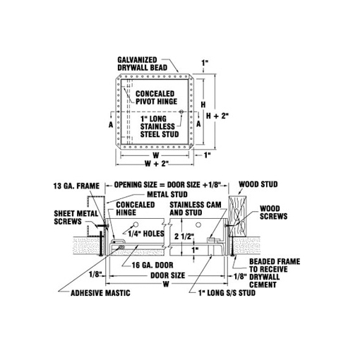
RDW – Recessed Access Door for Drywall Surfaces
The face of the door on the RDW is recessed to receive a panel of drywall to provide a dry wall finish on the door to match texture of surrounding drywall. The door frame includes a drywall bead so that drywall cement can be applied to conceal flange.









